Maite filter
旋流除砂器
免費定製方案 免費到廠考察 免費獲取報價!
產品說明:旋流除砂器被廣泛應用於化工、環保、食品、醫藥等許多工業部門,在給水處理領域實現除汙,降濁,固液分離等,效果顯著。水力旋流的工作原理及設計自100多年前就已經提出,柱形旋流除砂器就是利用這種原理,是滿足水力旋流器實現固液分離的應用實例。它是利...
青青草成人网過濾設備攜手各行業打造滿足青青草视频破解版需求產品的保障
旋流除砂器被廣泛應用於化工、環保、食品、醫藥等許多工業部門,在給水處理領域實現除汙,降濁,固液分離等,效果顯著。
水力旋流的工作原理及設計自100多年前就已經提出,柱形旋流除砂器就是利用這種原理,是滿足水力旋流器實現固液分離的應用實例。它是利用離心分離和力沉降的實現固液分離的水處理設備,主要用來清除地下水和包括地下熱水及其它水源中的固體顆粒,適用於水源熱泵係統,中央空調循環冷卻水,冷凍水係統,冬季冷暖循環水係統,工業冷卻循環水係統等。
設備原理:
旋流除砂器是根據離心沉降和密度差的原理,當水流在一定的壓力從除砂器進口以切向進入設備後,產生強烈的旋流運動,由於汙水密度不同,在離心力、向心浮力、流體拽力的作用下,因受力不同,從而使密度低的清水上升,有溢流口排出,密度大的汙由底部排汙口排出,從而達到除汙的目的。在一定範圍和條件下,除砂器水壓越大,除汙率越高,並可多台並聯使用。
設備特點:
1.結構簡單、成本低廉,易於安裝和操作。
2.維護費用低,維護方便,幾乎不需要維護。
3.與擴大管、緩衝箱等除汙設備相比,具有體積小、處理能力大,節省現場空間等優點。
4.可以在不間斷供水過程中清除水中的汙粒。
5.避免了其他除汙方式存在水質二次汙染的現象。
6.除汙效率高,效率高達96%以上。
7.適用範圍廣,細沙粒到大顆粒汙都能使用。
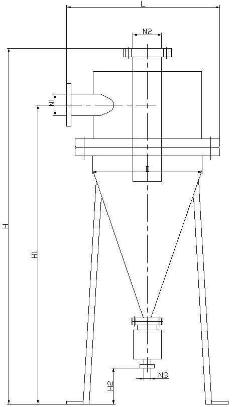
尺寸簡圖

選型參數:
型號 | 處理量 | 進水壓力 | 分離徑粒(mm) | 分離粒度 | 平均除汙率(%) | 進水口D2 | 出水口D2 | 排汙口D2 |
MCS-25×** | 20 | 0.15-0.4 | 1.5 | 30-70 | ﹥96 | 25 | 40 | 20 |
MCS-40×** | 30 | 0.15-0.4 | 2 | 40-100 | ﹥96 | 40 | 50 | 20 |
MCS-50×** | 50 | 0.15-0.4 | 3 | 40-100 | ﹥95 | 50 | 80 | 25 |
MCS-80×** | 80 | 0.15-0.4 | 3 | 40-100 | ﹥92 | 80 | 100 | 25 |
MCS-100×** | 100 | 0.15-0.4 | 6 | 50-150 | ﹥90 | 100 | 125 | 40 |
MCS-125×** | 125 | 0.15-0.4 | 10 | 74-200 | ﹥90 | 125 | 150 | 65 |
MCS-150×** | 150 | 0.15-0.4 | 10 | 74-200 | ﹥90 | 150 | 200 | 65 |
MCS-200×** | 200 | 0.15-0.4 | 16 | 74-220 | ﹥90 | 200 | 250 | 80 |
MCS-300×** | 300 | 0.15-0.4 | 16 | 80-230 | ﹥90 | 250 | 300 | 80 |

1)正常工作時,需開啟進、出水閥門、關閉排汙閥;
2)當儲汙缸在存汙到一定高度時,應排汙。排汙時打開排汙閥,直到清水流出;
3)排汙完畢後,關閉排汙閥即可;
4)如排汙壓力不足,可關閉出水處的閥門;
青青草成人网過濾設備攜手各行業打造滿足青青草视频破解版需求產品的保障
青青草成人网過濾設備攜手各行業打造滿足青青草视频破解版需求產品的保障